WUJUNWEI'S BLOG
WuJunwei
Jul 15, 2020
It takes 25 minutes to read this article.

系统架构;运行流程;拦截器的好处;

系统架构

关于图中的Key:

  • Servlet Filters:过滤器链,客户端的所有请求都要经过Filter链的处理。
  • Struts Core:Struts2的核心部分,但是Struts2已经帮我们做好了,我们不需要去做这个
  • Interceptors,Struts2的拦截器。Struts2提供了很多默认的拦截器,可以完成日常开发的绝大部分工作;而我们自定义的拦截器,用来实现实际的客户业务需要的功能。
  • User Created,由开发人员创建的,包括struts.xml、Action、Template,这些是每个使用Struts2来进行开发的人员都必须会的。

FilterDispatcher

FilterDispatcher是整个Struts2的调度中心,也就是MVC中的C(控制中心),根据ActionMapper的结果来决定是否处理请求,如果ActionMapper指出该URL应该被Struts2处理,那么它将会执行Action处理,并停止过滤器链上还没有执行的过滤器。

ActionMapper

根据请求的URI查找是否存在对应Action调用,会判断这个请求是否应该被Struts2处理,如果需要Struts2处理,ActionMapper会返回一个对象来描述请求对应的ActionInvocation的信息。

ActionProxy

在XWork和真正的Action之间充当代理 ,它会创建一个ActionInvocation实例,位于Action和xwork之间,使得我们在将来有机会引入更多的实现方式,比如通过WebService来实现等。

ActionMapping

保存调用Action的映射信息,如namespace、name等

ConfigurationManager

是xwork配置的管理中心,可以把它看做struts.xml这个配置文件在内存中的对应。

struts.xml

是开发人员必须光顾的地方。是Stuts2的应用配置文件,负责诸如URL与Action之间映射关系的配置、以及执行后页面跳转的Result配置等。

ActionInvocation

表示Action的执行状态,保存拦截器、Action实例,真正调用并执行Action,它拥有一个Action实例和这个Action所依赖的拦截器实例。ActionInvocation会按照指定的顺序去执行这些拦截器、Action以及相应的Result。

Interceptor(拦截器)

可以在请求处理之前或者之后执行的Struts 2组件,Struts 2绝大多数功能通过拦截器完成。

它是Struts2的基石,类似于JavaWeb的Filter,拦截器是一些无状态的类,拦截器可以自动拦截Action,它们给开发者提供了在Action运行之前或Result运行之后来执行一些功能代码的机会。

Action

用来处理请求,封装数据。

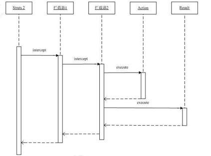
运行流程

  1. 当用户的发出请求,比如http:localhost:8080/Struts2/helloworld/helloworldAction.action,请求会被Tomcat接收到,Tomcat服务器来选择处理这个请求的Web应用,那就是由helloworld这个web工程来处理这个请求。
  2. Web容器会去读取helloworld这个工程的web.xml,在web.xml中进行匹配,但发现,由struts2这个过滤器来进行处理(也就是StrutsPrepareAndExecuteFilter),根据Filter的配置,找到FilterDispatcher(Struts2的调度中心)
  3. 然后会获取FilterDispatcher实例,然后回调doFilter方法,进行真正的处理

PS:FilterDispatcher是任何一个Struts2应用都需要配置的,通常情况下,web.xml文件中还有其他过滤器时,FilterDispatcher是放在滤器链的最后;如果在FilterDispatcher前出现了如SiteMesh这种特殊的过滤器,还必须在SiteMesh前引用Struts2的ActionContextCleanUp过滤器

4.这时FilterDispatcher会将请求转发给ActionMapper。ActionMapper负责识别当前的请求是否需要Struts2做出处理。

5.如果需要Struts2处理,ActionMapper会通知FilterDispatcher,需要处理这个请求,FilterDispatcher会停止过滤器链以后的部分,(这也就是为什么,FilterDispatcher应该出现在过滤器链的最后的原因)。然后建立一个ActionProxy实例,这个对象作为Action与xwork之间的中间层,会代理Action的运行过程。

6.ActionProxy对象在被创建出来的时候,并不知道要运行哪个Action,它手里只有从FilterDispatcher中拿到的请求的URL。

而真正知道要运行哪个Action的是ConfigurationManager。因为只有它才能读取我们的strtus.xml

(在服务器启动的时候,ConfigurationManager就会把struts.xml中的所有信息读到内存里,并缓存,当ActionProxy带着URL向他询问要运行哪个Action的时候,就可以直接匹配、查找并回答了)

7.ActionProxy知道自己该干什么事之后(运行哪个Action、相关的拦截器以及所有可能使用的result信息),然后马上建立ActionInvocation对象了,ActionInvocation对象描述了Action运行的整个过程。

注意:Action完整的调用过程都是由ActionInvocation对象负责

8.在execute方法之前,好像URL请求中的参数已经赋值到了Action的属性上,这就是我们的拦截器。

拦截器的运行被分成两部分,一部分在Action之前运行,一部分在Result之后运行,而且顺序是刚好反过来的。也就是在Action执行前的顺序,比如是拦截器1、拦截器2、拦截器3,那么运行Result之后,再次运行拦截器的时候,顺序就变成拦截器3、拦截器2、拦截器1了。

所以ActionInvocation对象执行的时候需要通过很多复杂的过程,按照指定拦截器的顺序依次执行。

9.执行Action的execute方法,然后根据execute方法返回的结果(Result),去struts.xml中匹配选择下一个页面

10.根据结果(Result)找到页面后,在页面上(有很多Struts2提供的模板),可以通过Struts2自带的标签库来访问需要的数据,并生成最终页面

注意:这时还没有给客户端应答,只是生成了页面

11.最后,ActionInvocation对象倒序执行拦截器

12.ActionInvocation对象执行完毕后,已经得到响应对象(HttpServletResponse)了,最后按与过滤器(Filter)配置定义相反的顺序依次经过过滤器,向客户端展示出响应的结果

拦截器

拦截器的好处

  1. 简化Action的实现,可以把很多功能从Action中独立出来,大量减少了Action的代码书写。
  2. 功能更单一,把功能从Action中分离出来,分散到不同的拦截器里面,这样使每个拦截器和Action的功能更加单一,便于维护。
  3. 通用代码模块化和重用性,把Action中的功能分离出来,放到拦截器去实现,这样就能实现多个Action中通用的代码进行模块化,多个Action公用一个拦截器
  4. 实现AOP,Struts2通过拦截器实现了AOP(面向切面编程),AOP是一种分散实现关注功能的编程模式。
  5. 拦截器将通用需求功能从不相关的Action之中分离出来,能够使得很多Action共享同一个行为,一旦行为发生变化,不必修改很多Action,只要修改这个行为就可以了。

什么是拦截器

  1. Struts 2大多数核心功能是通过拦截器实现的,每个拦截器完成某项功能
  2. 拦截器方法在Action执行之前或者之后执行
  3. 拦截器栈
    • 从结构上看,拦截器栈相当于多个拦截器的组合
    • 在功能上看,拦截器栈也是拦截器
  4. 拦截器与过滤器原理很相似

为Action提供附加功能时,无需修改Action代码,使用拦截器来提供

拦截器工作原理

三阶段执行周期:

  1. 做一些Action执行前的预处理
  2. 将控制交给后续拦截器或返回结果字符串
  3. 做一些Action执行后的处理

拦截器示例

public class MyTimerInterceptor extends AbstractInterceptor{	
	public String intercept(ActionInvocation invocation) 
						throws Exception {
		//预处理工作
		long startTime = System.currentTimeMillis();
  //执行后续拦截器或Action
		String result = invocation.invoke();
  //后续处理工作
	   long execTime = System.currentTimeMillis() - startTime;
 System.out.println("The interval time is "+execTime+" ms");
		//返回结果字符串
  return result;
	}
}

自带拦截器

  • Params拦截器:负责将请求参数设置为Action属性,把请求参数设置到相应的Action的属性去的,并自动进行类型转换。
  • servletConfig拦截器:将源于Servlet API的各种对象注入到Action
  • fileUpload拦截器:对文件上传提供支持
  • exception拦截器:捕获异常,并且将异常映射到用户自定义的错误页面
  • validation拦截器:调用验证框架进行数据验证
  • workflow拦截器:调用Action类的validate(),执行编码验证
  • prepare拦截器,在Action执行之前调用Action的prepare()方法,这个方法是用来准备Action执行之前要做的工作。它要求我们的Action必需实现com.opensymphony.xwork2.Preparable接口,一般都是与ModelDriven一起使用
  • modelDriven拦截器,如果Action实现ModelDriven接口,它将getModel()取得的模型对象存入OgnlValueStack中
  • chain拦截器,将前一个执行结束的Action属性设置到当前的Action中。它被用在ResultType为“chain”所指定的结果的Action中,该结果Action对象会从值栈中获得前一个Action对应的属性,它实现Action链之间的数据传递
  • validation拦截器,调用验证框架读取 *-validation.xml文件,并且应用在这些文件中声明的校验
  • timer拦截器,记录ActionInvocation余下部分执行的时间,并做为日志信息记录下来,便于查找性能优化。
  • token拦截器(令牌拦截器),核对当前Action请求(request)的有效标识,防止重复提交。使用标签可以生成表单令牌,该标签会在session中设置一个预期的值并且在表单中创建一个隐藏的input字段。Token拦截器会检查这个令牌,如果不合法,将不会执行action,注意这个拦截器需要手工添加,还需要配置一个invalid.token的result。

预定义的拦截器栈

在struts-default.xml中给出了Struts2的默认的预定义拦截器栈defaultStack

<interceptors>
<interceptor>。。。。
<interceptor-stack>。。。
<default-interceptor-ref>。。。。
</interceptors
  • 用来定义一个拦截器,仅仅是一个定义,还没有被Action来引用它。name属性作为唯一标志,而class属性就是这个拦截器的实现类的全类名。拦截器的实现类都应该是com.opensymphony.xwork2.interceptor.Interceptor这个接口的实现类
  • 定义了一个拦截器栈,这个栈中可以引用其他已经定义好的拦截器。拦截器栈简化了动作类Action在引用拦截器时的操作。 因为大多数动作类Action在引用拦截器的时候都不会仅仅引用一个拦截器,而是引用一组拦截器。Action在引用的时候,只需要引用这个拦截器栈就可以了,而不是引用每一个拦截器

拦截器的调用顺序

(1).要找它自己有没有声明拦截器的引用,即元素有没有子元素,如果有,则不用继续再找,如果没有,(2)。

(2):在这个所在的包有没有声明默认的拦截器引用,即元素的子元素, 如果有,则不用继续再找,直接使用这些拦截器,如果没有,(3)。

 (3):递归地寻找当前包的父包有没有声明默认的拦截器引用,直到找到有拦截器引用就为止

注意:三者是覆盖关系

自定义拦截器

所有的拦截器都要实现com.opensymphony.xwork2.interceptor.Interceptor接口

public interface Interceptor {
    void destroy();
    void init();
String intercept(ActionInvocation invocation) throws Exception;
}

配置struts.xml文件

<package name="packName" extends="struts-default" namespace="/manage">
	<interceptors>
		<!-- 定义拦截器 -->
		<interceptor name="interceptorName" class="interceptorClass" />
		<!-- 定义拦截器栈 -->
		<interceptor-stack name="interceptorStackName">
			<!--指定引用的拦截器-->
			<interceptor-ref name="interceptorName|interceptorStackName" />
		</interceptor-stack>
	</interceptors>
	<!--定义默认的拦截器引用-->
	<default-interceptor-ref name="interceptorName|interceptorStackName" />
	<action name="actionName" class="actionClass">
	  <!—为Action指定拦截器引用-->
		<interceptor-ref name="interceptorName|interceptorStackName" />
		<!--省略其他配置-->
	</action>
</package>

实现Interceptor接口

  1. void init():初始化拦截器所需资源
  2. void destroy():释放在init()中分配的资源
  3. String intercept(ActionInvocation ai) throws Exception
    1. 实现拦截器功能
    2. 利用ActionInvocation参数获取Action状态
    3. 返回结果码(result)字符串

继承AbstractInterceptor类

  1. 提供了init()和destroy()方法的空实现
  2. 只需要实现intercept方法即可
  3. 推荐使用

登录验证

为开发一个权限验证拦截器来判断用户是否登录

  1. 当用户请求受保护资源时,先检查用户是否登录
  2. 如果没有登录,则向用户显示登录页面
  3. 如果已经登录,则继续操作

实现步骤

  1. 开发权限验证拦截器
  2. 在配置文件中定义拦截器并引用它

UserAction

public String login(){  
     Map map= ActionContext.getContext().getSession();
     if("admin".equals(this.getUsername())&& 
       "admin".equals(this.getPassword())){  
       map.put("name",getUsername());   
    return "success";  
    }  
    return "error";  
}

ShowAction

public String show() {  
 	return "success";  
 } 

Welcome.jsp

 <a href="show.action">show</a> 

Show This Page

    登录后执行此页面<br> 

LoginInterceptor登录拦截器

public class LoginInterceptor extends AbstractInterceptor{
 @Override  
 public String intercept(ActionInvocation invocation) throws Exception {  
    // 取得请求相关的ActionContext实例  
    ActionContext ctx = invocation.getInvocationContext();  
    Map session = ctx.getSession();  
     String username = (String) session.get("name");  
    // 如果没有登陆,或者登陆的用户名不是admin,都返回重新登陆 
    if (username != null && username.equals("admin")) {  
    return invocation.invoke();  
    }  
    return Action.LOGIN;  
    }  
}

无拦截器的登录验证

<package name="noauthority" extends="struts-default" >
<!-- 定义全局Result -->  
<global-results>  
    <!-- 当返回login视图名时,转入/login.jsp页面 -->  
    <result name="login">/login.jsp</result>  
</global-results>  
<action name="login" class="com.lesson.action.UserAction" method="login">  
    <result name="success">/welcome.jsp</result>  
    <result name="error">/login.jsp</result>  
    <result name="input">/login.jsp</result>  
</action>  
<action name="show" class="com.lesson.action.ShowAction">  
    <result name="success">/show.jsp</result>  
</action>
</package>

有拦截器的登录验证

<package name="authority" extends="struts-default" >
 <interceptors> 
     <interceptor name="authority"  
    class="com.lesson.interceptor.LoginInterceptor">  
    </interceptor>  
    <!-- 拦截器栈 -->  
    <interceptor-stack name="mydefault">  
    <interceptor-ref name="defaultStack" />  
    <interceptor-ref name="authority" />  
    </interceptor-stack>  
</interceptors> 
	…..
 <action name="show" class="com.lesson.action.ShowAction">  
    <result name="success">/show.jsp</result>  
    <!-- 使用此拦截器 -->  
    <interceptor-ref name="mydefault" />  
</action>
</package>